Ford brevetta l'interazione dei droni con le automobili
Consegne di cibo in vista durante gli ingorghi più terribili? Vedremo...
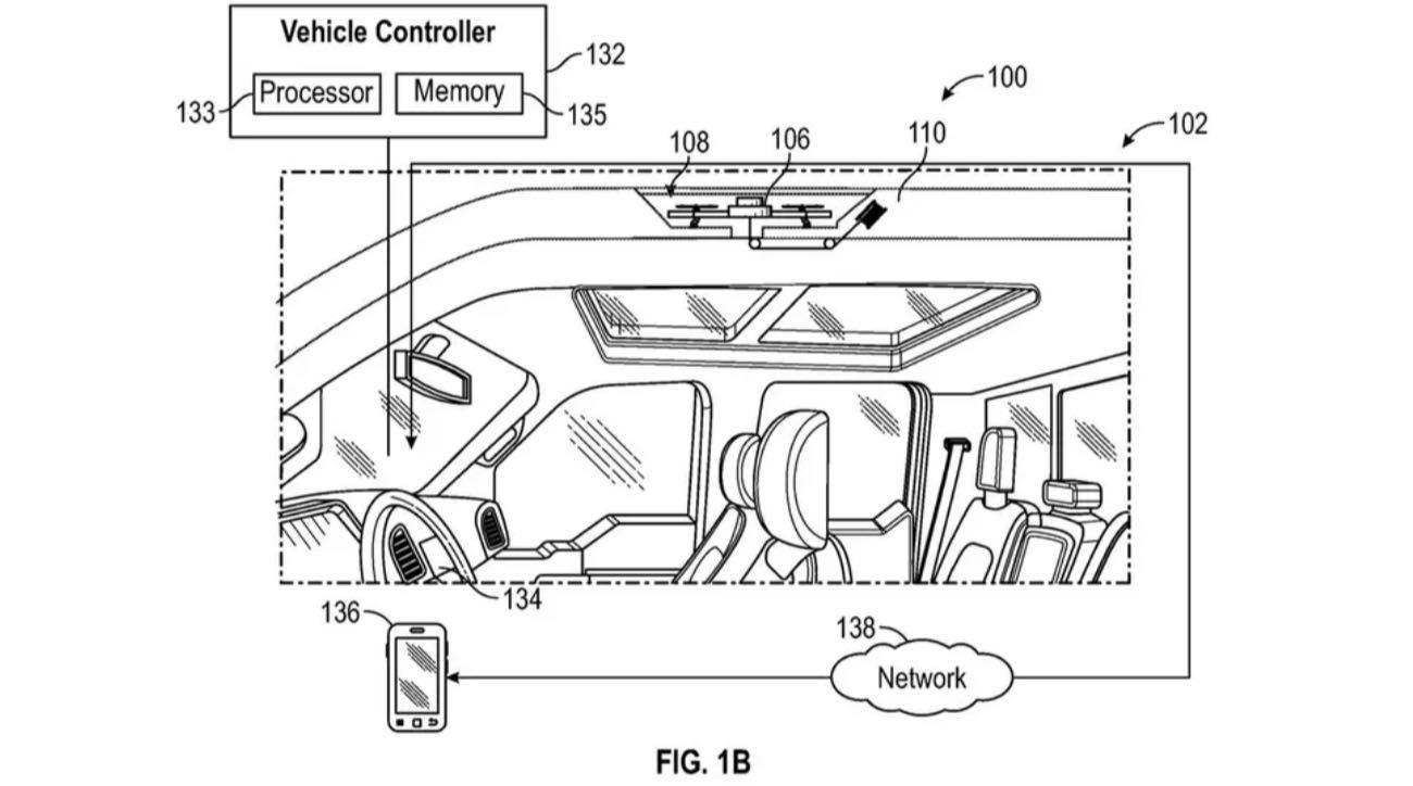
Ford sta studiando una miriade di modi in cui i droni potrebbero interagire con un veicolo. I ricercatori della società Global Technologies, che gravita nell'orbita della Casa dell'Ovale hanno recentemente depositato una serie di brevetti relativi ai droni. Anche se magari non tutti si concretizzeranno, i disegni che accompagnano le domande di brevetto costituiscono uno studio affascinante.
Tante idee interessanti
Le immagini mostrano scenari in cui i droni offrono maggiore sicurezza, comfort e comodità agli occupanti del veicolo. Uno di questi comprende un UAV (Unmanned Aerial Vehicle, che si potrebbe tradurre come aeromobile a pilotaggio remoto) che fuoriesce dal retro di un Ford F-150 come misura di sicurezza. Il drone, alloggiato in un apposito vano di stoccaggio, si attiverebbe in caso di incidente, emettendo un allarme e accendendo una luce per avvisare i soccorritori. Un altro disegno mostra l'installazione di una docking station per droni sull'auto, in modo che, in caso di ingorgo, il drone possa, ad esempio, effettuare una consegna di cibo. Un altro ancora prevede che il drone controlli le condizioni della strada più avanti nel percorso e trasmetta queste informazioni al computer dell'auto o all'infrastruttura stradale, ad esempio ai semafori.
Situazioni delicate
Brevettare soluzioni per l'uso dei droni negli spazi pubblici significa che i ricercatori Ford stanno valutando come utilizzare i droni in modo efficace senza creare ulteriori problemi di sicurezza. Inoltre si presuppone l'impiego di un drone con la capacità di identificare una "condizione di emergenza", cioè un rischio di incidente, e di trasmettere un messaggio di avvertimento all'auto e/o al proprietario. Il tutto senza trascurare il modo in cui l'UAV potrebbe atterrare sul retro di un veicolo in movimento.
Per terra e per mare
Ford ha mostrato interesse per la simbiosi tra veicoli e droni a 360 gradi, brevettando tra le altre cose anche un drone dotato di un braccio per la disinfezione e che potrebbe essere destinato agli operatori di ride-sharing. La Casa non si aspetta nemmeno che queste tecnologie rimangano sulla terraferma, citando in un brevetto l'integrazione con mezzi acquatici. Motoscafi e droni? Sembra divertente...
Leggi anche: Il Ford F-150 Lightning entra in Polizia
Top Gear
Italia Newsletter
Grazie per esserti iscritto alla nostra newsletter. Riceverai tutte le nuove notizie nella tua casella di posta.
Ricevi tutte le ultime notizie, recensioni ed esclusive direttamente nella tua casella di posta.




